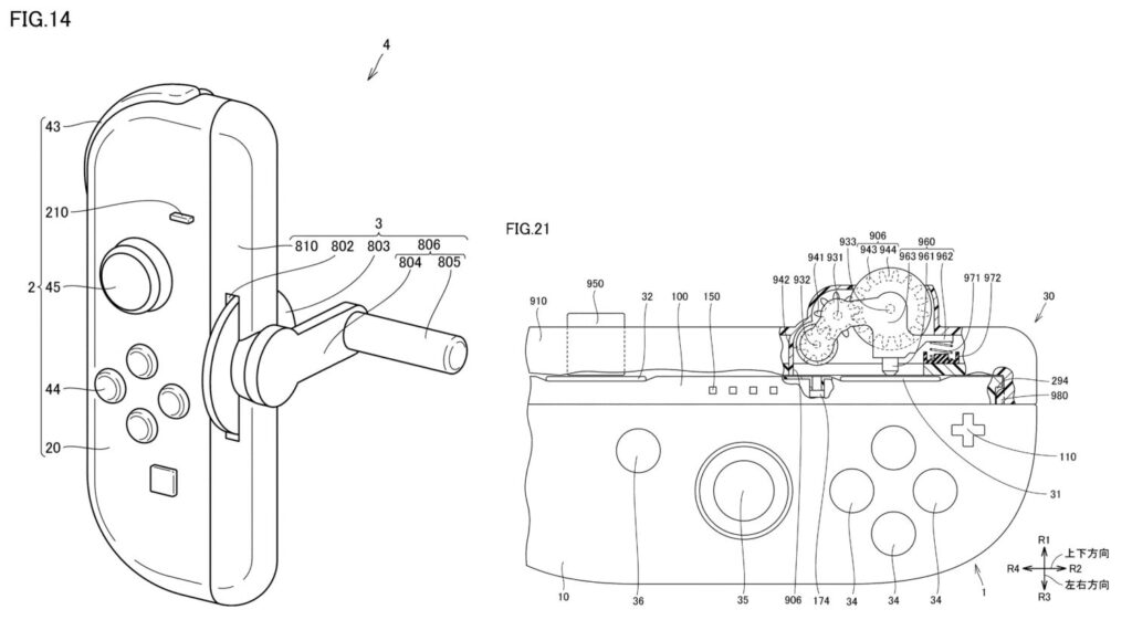
สิทธิบัตรล่าสุดจาก Nintendo เผยแนวคิดอุปกรณ์เสริมแบบคันหมุน (Crank) สำหรับ Joy-Con 2 ของ Nintendo Switch 2 ซึ่งอาจทำให้การตกปลาในเกม Animal Crossing มีความสมจริงยิ่งขึ้น โดยสิทธิบัตรนี้ถูกพบโดย Nintendo Patents Watch และแสดงให้เห็นอุปกรณ์เสริมที่สามารถต่อเข้ากับ Joy-Con 2 ได้เพื่อเพิ่มฟังก์ชันการใช้งาน
แฟน ๆ Nintendo อาจคุ้นเคยกับการที่บริษัทเคยเปลี่ยน Joy-Con ให้เป็นคันเบ็ดตกปลามาแล้ว ผ่านชุดอุปกรณ์ Labo Toy-Con Fishing Rod ที่เปิดตัวในปี 2018 สำหรับ Nintendo Switch รุ่นแรก แม้ว่า Labo จะไม่รองรับ Switch 2 อย่างเป็นทางการ แต่สิทธิบัตรใหม่นี้แสดงให้เห็นวิธีการที่ดูทันสมัยและทนทานกว่า โดยใช้เซ็นเซอร์เมาส์ใน Joy-Con 2 เพื่อตรวจจับการหมุนของล้อ อุปกรณ์เสริมนี้น่าจะทำจากพลาสติกหรือโลหะ แทนที่จะเป็นกระดาษแข็งแบบ Labo
นอกจากจะใช้ตกปลาใน Animal Crossing แล้ว แฟนเกมยังมองว่าฟีเจอร์นี้อาจเปิดโอกาสให้ Switch 2 รองรับเกมจากเครื่อง Playdate ซึ่งมีคันหมุนเป็นเอกลักษณ์ หรือแม้แต่เกมตกปลาเก่าอย่าง Sega Bass Fishing ก็อาจกลับมาได้อีกครั้ง
ความเป็นไปได้นั้นไม่หยุดแค่เกมตกปลาเท่านั้น เพราะคันหมุนของ Joy-Con 2 อาจถูกนำไปใช้กับเกมหลากหลายประเภท เช่น เกม WarioWare ภาคใหม่ในธีม “Crankin’ It” ที่อาจจะพัฒนาโดยทีม R&D1 ของ Nintendo
สิทธิบัตรคันหมุนของ Joy-Con 2 นี้ถูกเผยแพร่เมื่อวันพฤหัสบดีที่ผ่านมา แต่จริง ๆ แล้วถูกยื่นตั้งแต่เดือนกุมภาพันธ์ 2024 ซึ่งหมายความว่า Nintendo คิดไอเดียนี้มานานแล้ว นอกจากนี้ ภายในสิทธิบัตรยังมีการพูดถึงอุปกรณ์เสริมอื่น ๆ ของ Joy-Con 2 เช่น ล้อหมุนแบบคลิกได้ (Mouse Wheel) ที่จะมอบวิธีควบคุมรูปแบบใหม่ให้กับ Switch 2 อย่างไรก็ตาม ไม่ใช่ว่าทุกแนวคิดในสิทธิบัตรจะถูกนำมาผลิตจริง แต่ชัดเจนว่า Nintendo ต้องการจดสิทธิบัตรเพื่อป้องกันไม่ให้คู่แข่งนำไปใช้

ติดตามข่าวสารอัปเดตวงการเทคโนโลยี เกม และไลฟ์สไตล์เพิ่มเติมได้ที่ techcatchup.net
พร้อมช่องทางโซเชียล Facebook | Instagram | TikTok | YouTube | X



